Főbb jellemzők / Speciális jellemzők:
Leírás:
A sonokémia az ultrahang alkalmazása kémiai reakciókban és folyamatokban. A folyadékokban a sonokémiai hatást okozó mechanizmus az akusztikus kavitáció jelensége. A kémiai reakciókra és a folyamatokra gyakorolt hatások közé tartozik a fokozott reakciósebesség és a kimeneti lépések, az energia hatékonyabb felhasználása, az energia hatékonyabb felhasználása, a fázisátviteli katalizátorok jobb teljesítménye, a fémek és szilárd anyagok aktiválása, vagy a katalizátorok reaktivitásának fokozása.
Az ultrahang növelheti a növényi olaj és az állati zsír kémiai reakciósebességét és hozamát. Ez megváltoztathatja a gyártást a kötegelt feldolgozásról folyamatos folyamatfeldolgozásra, csökkentve a beruházási és működési költségeket. A növényi olajokból vagy állati zsírokból előállított biodízel előállítása egy zsírsav metanol vagy etanollal végzett bázis-katalizált átészterezésével jár, és így a megfelelő metil- vagy etil-észtert kapjuk. Az ultrahangos energia több mint 99% biodízel-termelést eredményez. Az ultrahang jelentősen csökkentheti a feldolgozási időt és az elválasztási időt.
Versenyelőny:
1.Megkeverési idő 20% ~ 60%
2.Lower temps 30% ~ 60% (30 ℃)
3.Kevesebb, mint 5% metanol.
4.Kevesebb vegyi anyag (KOH) kevesebb, mint 20% ~ 50%
5. A teljes termelési költség 15% ~ 50%
6.Egy másik előny a glicerin szétválasztásának ideje. Ez is gyorsabb, és az egyik oka annak, hogy kevesebb metanolt használnak, így a glicerin szétválasztása gyorsabb.
Alkalmazások:
A legkorábbi alkalmazások biokémiájában az ultrahangot ultrahanggal kell használni a sejtfal összetöréséhez, annak tartalmának felszabadításához. Későbbi vizsgálatok azt mutatták, hogy az alacsony intenzitású ultrahang elősegítheti a biokémiai reakció folyamatát, mint például az ultrahangos besugárzás növelheti az algák sejtjeinek folyékony tápanyag-növekedésének sebességét, így a sejtek fehérjéket termelnek, 3-szor nőttek. az energia sűrűsége, az energia sűrűsége a megnövekedett trillionszor, az energia által okozott nagy koncentráció; A hangkémia vezetett a lumineszcencia szélsőséges hő- és nyomáskavitációjához, egyedülálló az energia és a sonokémia anyagcsere formájában. Ezért az ultrahangos kémiai extrakció, a biodízel-előállítás, a szerves szintézis, az irányító mikroorganizmusok, a mérgező szerves szennyező anyagok lebomlása, a kémiai reakció sebessége és hozama, a katalitikus hatékonyság, a biológiai lebomlás, az ultrahangos fertőtlenítés, a biológiai sejtek zúzása, a diszperzió és az agglomeráció, valamint a vegyi anyag. a reakció egyre fontosabb szerepet játszik.
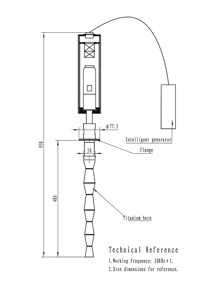
Leírás:
típus | ZYS-100 | ZYS-150 | ZYS-200 | ZYS-300 |
Erő | 1000W | 1500W | 2000W | 3000W |
Frekvencia | 20kHz | |||
Amplitúdó / teljesítmény beállítása | 50-100% | 20-100% | ||
Hőmérséklet | <100>100> | |||
A reaktor térfogata | 5-10L | |||
Standard Spec | Ultrahangos készülék + Digitális generátor | |||
Opcionális konfiguráció | Rozsdamentes acél reaktor, távoli kommunikációs interfész, áramlásmérő | |||


Népszerű tags: ultrahangos ciklus feldolgozó reaktor részecskék keverése emulgeáló diszpergáló maró, Kína, beszállítók, gyártók, gyár


